作者:肇恩
Dyson是一家銷售高檔家電的公司,其最廣為人知的產品是吸塵器。而Dyson吸塵器主打的兩大特點是「吸力永不減弱」與「零耗材」(不需要替換集塵袋、濾網等)。靠著這兩項特點,Dyson在2015年佔有全球四分之一無線吸塵器的市場,而Dyson幕後的推手是有「現代版愛迪生」之稱的James Dyson。
創新心法:
投入大量心力,不斷鑽研技術,不在乎廣告宣傳,直到做出完美無暇的產品,才會呈現給顧客。
本文三大重點:
1. James Dyson年輕時的挫折,讓他不害怕「失敗」。
2. James Dyson喜愛年輕員工並允許他們「失敗」。
3. 透過不停嘗試和研發,讓產品維持高質量高價格。
1. James Dyson年輕時的挫折,讓他不害怕「失敗」
來自英國濱海小鎮克羅默(Crome)的James Dyson,在他創立銷售額超過25億美金(2015年)的家電公司Dyson前,曾有一段鮮為人知的故事。
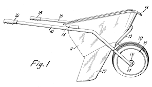
1971年,James Dyson在整理家裡花園時,對傳統式手推車(一般的輪子)的低靈活度不滿意,他因此決定自行改良,把輪子的設計改用球狀的輪子取代,增加輪子與泥土的接觸面積,成功的讓手推車操作起來更為方便。
(圖片擷取:Wikipedia,此圖為James Dyson設計出的新型手推車)
於是James Dyson決定銷售他的發明,很快地獲得一群投資者的青睞,並有了自己的銷售團隊。正當James Dyson想把產品銷往美國,卻發現銷售團隊中有人偷偷把這個設計賣給 Glassco Plastic(販賣實驗器皿的公司)。 James Dyson為了保護自己的發明,便展開訴訟,但最後卻敗訴了。
這次事件後,投資者們對James Dyson錯失把產品銷往美國的大好機會感到不滿,也開始質疑他的能力,於是他們把James Dyson從自己創立的公司中趕出去,更慘的是James Dyson把它改良手推車的專利登記在公司名下,因此他一無所有的離開。
James Dyson在此後陷入低潮,直到一次搬家後,使用吸塵器打掃地毯時,James Dyson對吸塵器的吸力感到不滿意。他拆解吸塵器後發現,集塵袋被一層灰塵堵塞,造成吸力減弱。於是James Dyson決定自己改良吸塵器。他在1979到1984年間,一共修正了5127個版本,終於創造出世界第一台沒有集塵袋的吸塵器,而這個產品也在第一個銷售地日本大獲好評,邁出成為家電帝國的第一步。
2. James Dyson喜愛年輕員工並允許他們「失敗」
因為年輕時曾因「失敗」被趕出公司,James Dyson管理與選用工程師的做法有別於一般老闆。James Dyson鼓勵工程師在他耗資2億美金建造的秘密實驗室裡,去盡情「幻想」與「失敗」。他希望透過「幻想」讓員工創造最有巧思的產品;透過「失敗」將產品的瑕疵一一修正。
Dyson一台要價400美金的吹風機,便是在實驗室裡是耗時四年。過程中Dyson收集了1010英里(mile)的人類頭髮,去試驗哪種風和溫度不會傷害髮質。透過嚴謹的測試,創造出不傷害髮質的高檔吹風機。
(圖片擷取:Dyson)
和Dyson一樣,Google有一間秘密實驗室名為Google X。專門給擁有最瘋狂點子與最有才華的人,實踐想法的機會。Google X是由麻省理工、史丹佛等名校畢業生和從微軟、蘋果挖角來的頂尖工程師組成。Google眼鏡和Google自動駕駛車便是這個實驗室最著名的產物。
不論Google還是Dyson,建立秘密實驗室的目的,都是為了能給公司的工程師,一個最能發揮創意的空間,讓他們研發出最特別的產品。這個策略也確實讓兩家公司的產品,具有創意性與獨特性。
在選人方面,從Dyson平均工程師年齡僅有26歲就可以看出,James Dyson偏好年輕的工程師。他認為年輕的工程師比較敢嘗試新事物,也不害怕失敗,而這正符合他鼓勵員工去「失敗」的理念。
臉書創辦人祖克柏,也曾在Y-Combinator(創投公司)的募資會上說:「年輕人就是比較聰明,這也是為什麼西洋棋高手都是年輕人。」臉書員工平均年齡僅有29歲,也反映了祖克柏的選才喜好。
3. 透過不停嘗試和研發,讓產品維持高質量高價格
除了選才與管理方式外,James Dyson對於產品的定位也有自己的堅持,Dyson的產品不論是吸塵器、吹風機或烘手機,都是領域中的高檔貨,但為何價格不親民消費者仍然願意買單?原因很簡單,因為Dyson的產品耐久度和產品效能比同業更好。Dyson的產品會那麼優秀,這裡歸納出兩點。
A 透過不停的試驗,讓產品成為佼佼者
Dyson第二代吸塵器DC02,在Dyson和6位工程師緊密的合作下,花了2年修正了約15個版本才推出產品;而掃地機器人花了17年嘗試1000多個版本才成功;Dyson的靜音風扇更是在64位工程師耗時3年,試驗640個版本才正式上架。
正是透過不停嘗試與修正的反覆動作,讓Dyson的產品不僅具有獨特性,還讓消費者很難有挑剔的地方。如James Dyson曾說過的:「消費者總買比較好的產品」,James Dyson相信高品質的產品才是成功之道。
B 比起打廣告,Dyson選擇把盈餘投入研發新產品與招募
從公司剛創立,James Dyson就堅信公司的銷售額應該是靠研發部門提升而不是靠廣告。以1996年為例,Dyson花在研發的金額將近廣告的六倍之多。到了2015年,Dyson的淨利是3,400萬美金。James Dyson依然選擇把46%淨利重新投入研發部門,這比他的同業競爭對手創科實業(Techtronic,約36%)和伊萊克斯(Electrolux,約24%)都高出許多。
(圖片擷取:Dyson)
Dyson James更計畫在2020年前再招募3000位年輕的工程師,並創造至少100樣新產品。除此之外,Dyson在2015年花9000萬收購固態電池(安全性較高且相同體積下能儲存更多電量,但目前成本太高,尚未普及)企業Sakti3後,還計畫在未來五年,投入14億美金建造電池工廠並希望量產固態電池。
在講求CP值的年代,很多企業紛紛推出平價的產品,希望以薄利多銷的方式創造盈餘,但如James Dyson曾說過的「如果你不能在價格上贏過對手,那就在品質上贏過他們吧!」,James Dyson相信高質量無瑕疵的產品,才是久遠的經營之道。
參考資料:
2.Dyson commits 1.4 billion for battery development.
4.Introduction of James Dyson.
5.James Dyson’s tedious inventing process.
6.How did James Dyson invent a perfect vacuum?
7.Quotes wrote by James Dyson.
8.Dyson keeps research creative product.
專欄介紹:
